Unlimited Sparkling Water From The Tap
I drank far too much Coca-Cola from my teenage years and into my early 20s. A disgusting amount that makes me cringe when I think back to it. It was a habit that was hard to kick; I believe, on some level, I had tied my developer/nerd identity with my Coca-Cola habit.
Thankfully I found that carbonated water was very effective at helping me stave off the Coca-Cola addiction — although it started a new obsession altogether, albeit a much healthier one. I started off buying flats of Perrier, which just seemed so wasteful.
Thankfully I found Sodastream and have been using them for years. Unlimited on sparkling tap water have both let me kick Coca-Cola and kept me incredibly hydrated.
Over time I’ve started to feel the downsides of the Sodastream. The first is that CO2 refills are EXPENSIVE. Of course, there are ways around this, such as using a using a Paintball Canister. The other issue is that they only can be used with particular bottles. This is good if you’re not using them regularly, but they get dirty fast when you’re drinking at least a bottle a day. Finally, they’re not dishwasher safe — I’ve stupidly tested this, and the warm water of a dishwasher warped the bottle. I’ve never been able to get one sufficiently clean; after a few months of use, they just start looking gross.
In February of 2022, I moved into a new apartment with a built-in water filter next to the sink. In Vancouver, where I live, the tap water is delicious, and I have no need for filtered water. So I looked under the sink to see how it was plumbed in, and it was some very standard plastic tubing. This gave me a spark of an idea… I could make this tap on my counter dispense unlimited sparkling water!
The Options
I started digging into what other people have done to solve this problem.
There are a few integrated faucet solutions, such as the Grohe Blue and Zip HydroTap. But, unfortunately, they’re… ludicrously expensive. We’re talking thousands of dollars just for dispensing some sparkling water. There’s no way I’m spending that type of money.

Then there are the more restaurant-focused approaches. Integrated chillers with carbonators in them. These were cheaper, but I wanted something a bit more custom.

Then the method I ended up going with was the most DIY of them all. I call it the Keg method.

The geniuses at KegLand have come up with a top for a keg that allows you to directly connect it to a water main to continually refill it with water. Then you attach a CO2 tank to it and plumb it to my existing water faucet. Sounds simple enough! Perfect for my needs.

The Plan
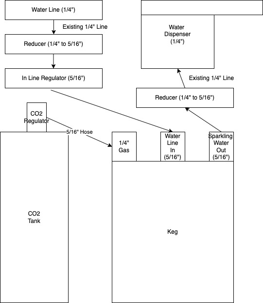
The keg lid instructions have a really great overview of implementing this setup, providing a great starting place.

I wanted to re-use the existing tap and plumbing that was in place for filtered water, so I put together a diagram of all the customizations I needed to make.

From here, I just had to find a small keg and order all of the components I needed!
The Build
I’m clearly out of practice at home renovation projects. I don’t know how many times in my life I’ve thought “measure twice cut once,” but for some reason, I just didn’t know this would apply to this project.
I went through three iterations of trying to connect this all together, with something going a bit wrong each time. The classic “multiple trips to the hardware store” problem was exacerbated by the parts I needed being very niche and only available online.
After trying a few different types of coupling, I quickly learned that duo tight fittings are the easiest to work with. All that matters is the external diameter of your tubing, and they’ll just slide in.
Eventually, I had all of the pieces I needed in one place. A keg, a CO2 tank, a regulator, some fittings, and the tubing connect it all together.

Next up was a test setup. Finally, putting it all together under the sink to make sure it actually works. Huge success!

Then for the most eventful part of the build — keeping the water cool. Water only carbonates when the water is cold, so I needed to put the keg inside a fridge. Of course, I worked with very tight space constraints underneath my sink. After a lot of searching for the perfect-sized fridge, I gave up. Modifications were going to be needed! I picked up a cheap fridge and moved forward with taking a section of the top of it to fit the keg in.

This was by far the most frustrating part of this process. Fitting the keg inside the fridge, getting the tubing wired up, and ensuring nothing was leaking. All inside a very tight space.

Now I just need to add some insulation to the top to prevent a lot of wasteful cooling — but it’s all working great! I now have unlimited sparkling water coming from my tap.
The End
Well, it works! It’s cold, it’s carbonated, and it’s finicky. I am still working on fine-tuning it to get the carbonation just how I like it.
Would I suggest going through this method? Probably not. It was a headache, and I am worried about the ongoing maintenance of keeping it working. So instead, I will be watching for a used Albi Aqua or Everpure Exubera EV983050, an all-in-one unit I need to connect my water and CO2 lines.
Part of my 2022 Year of Projects
This post is part of my 2022 Year of Projects! You can read about the project, my takeaways, or check out the other posts below.
- January — A Crypto Skeptic makes an NFT
- February — Building a Ski Resort API
- March — Prototyping a Disc Golf Pannier Bag
- April — Unlimited Sparkling Water from the Tap
- May — Scraping Last Minute Film Festival Tickets
- June — Adding YouTube Subscriptions to Plex
- July — Adding Post Thumbnails and Having Fun with DALL-E 2
- August — BCFlights — A Regional Flight Search Engine for British Columbia
- September — Manufacturing a Disc Golf Pannier Bag
- October — Disc Dispatch — Disc Golf Event Newsletter
- November — Designing Christmas Cards with Generative AI
- December — Publish Perks — Super Powers for your Jamstack Blog